Titration Curves
Purpose
To determine the equivalence points of two titrations from plots of pH versus mL of titrant added.Goals
-
•To gain experience performing acid-base titrations with a pH meter.
-
•To plot titration curves of pH vs. mL of titrant added.
-
•To determine the equivalence point of a titration from a titration curve.
-
•To determine the pKa of an analyte from a titration curve.
Introduction
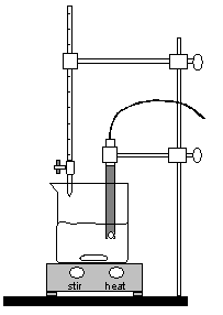
A titration is an analytical procedure in which a reaction is run under carefully controlled conditions. The stoichiometric volume of one reactant of known concentration, the titrant, that is required to react with another reactant of unknown concentration, the analyte, is measured. The concentration of the analyte is determined from the concentration and volume of titrant and the stoichiometry of the reaction between them. The experimental setup is shown in Figure 1. A buret, which contains the titrant, is calibrated so the volume of solution that it delivers can be determined with high accuracy and precision. Titrant is added to the analyte until the stoichiometric volume of titrant has been added. This is called the equivalence point, at which the volume of titrant delivered by the buret is read. Usually, the volume readings are estimated to the nearest 0.01 mL. The delivery of the titrant is adjusted with the stopcock on the buret. With practice, one can dispense fractions of a drop of titrant and control the procedure well enough that replicated titrations agree within 0.10 mL.
Figure 1: Titration Setup
Figure 2: Predicted titration curve of 0.1 M sodium acetate titrated with 0.20 M hydrogen chloride
Equipment
- 1 MicroLab interface
- 1 MicroLab pH measurement instruction sheet
- 1 pH electrode in pH 7.00 buffer
- 2 30 mL beakers
- 2 50 mL beakers
- 1 250 mL beaker
- 1 100 mL graduated cylinder
- 1 20.00 mL volumetric pipet
- 1 pipet bulb
- 1 magnetic stir plate
- 1 magnetic stir bar
- 1 25 mL buret
- 1 ring stand
- 1 clamp
- 1 buret clamp
- 1 250 mL beaker for electrode rinsings
- 1 deionized water squirt bottle
- 1 box of Kimwipes
- 1 ruler
Reagents
- ~25 mL 0.20 M potassium hydrogen phthalate (KHP)
- ~30 mL 0.20 M sodium hydroxide (NaOH)
- 3 drops phenolphthalein solution
- ~25 mL 0.10 M sodium carbonate (Na2CO3)
- ~30 mL 0.20 M hydrochloric acid (HCl)
- 3 drops methyl orange solution
- ~15 mL pH 4.00 buffer
- ~15 mL pH 7.00 buffer
- ~15 mL pH 10.00 buffer
- ~200 mL deionized water
Safety
Potassium hydrogen phthalate is listed as an irritant. Sodium carbonate is listed as both toxic and an irritant. However, the concentrations of these materials are quite low. If you spill any of these chemicals on skin or clothing, flush the area immediately with water. HCl and NaOH are corrosive. They can attack the skin and cause permanent damage to the eyes. If either solution splashes into your eyes, use the eyewash immediately. Hold your eyes open and flush with water. If contact with skin or clothing occurs, flush the affected area with water. Have your lab partner notify your instructor about the spill.Waste Disposal
All solutions can be flushed down the sink with plenty of water.Prior to Class
Please read the following sections of the Introductory Material: Please review the following videos:Lab Procedure
Please print the worksheet for this lab. You will need this sheet to record your data. In this experiment, you will be using pH electrodes connected to the MicroLab interface. pH electrodes have a thin glass bulb at the tip. They break easily and are costly to replace. Be careful not to shove the electrode into the bottom of a beaker or drop the electrode. There is a protective guard around the tip, which should remain in place at all times. The guard will not protect against careless treatment. Please use extreme care when using this equipment. Best results in using the electrodes are obtained if:-
•Electrodes are kept in standard pH 7 buffer solution when not in use.
-
•Immediately prior to use, the electrodes are rinsed with deionized water and gently blotted with a tissue, then placed in the test solution.
-
•The electrodes are rinsed and blotted again after the measurement and returned to the pH 7 buffer solution.
Part A: Calibrating the MicroLab pH Electrode
1
Open the MicroLab program.
2
Make sure the pH electrode is plugged into the interface.
3
Calibrate the pH electrode using the MicroLab instructions provided in the lab. The calibration standards for the pH electrode will be a pH = 4.00 (red) buffer solution, a pH = 7.00 (yellow) buffer solution, and a pH = 10.00 (blue) buffer solution. Use about 15 mL of each in 30 mL beakers.
4
After the calibration is complete, continue with the MicroLab instructions provided. The program will be configured to accept a volume of titrant, read from the buret, for each pH measurement.
5
For each pH reading, you will be prompted for a keyboard entry; enter the total volume of titrant as read from the buret. Make sure the electrode is immersed in the solution and allow for a few seconds equilibration.
Part B: Titration of KHP with NaOH
1
Using a clean, dry 50 mL beaker, obtain about 25 mL of 0.20 M potassium hydrogen phthalate (KHP) solution. Record the exact concentration of the KHP.
2
Condition a 20.00 mL volumetric pipet with KHP solution as shown in the Pipeting Techniques video under Instructional Videos and as described in the Volumetric Glassware section of the Introductory Material in this lab manual.
3
Pipet 20.00 mL of the potassium hydrogen phthalate (KHP) solution into a 250 mL beaker, and add 100 mL of deionized water (graduated cylinder) and 3 drops of phenolphthalein indicator.
4
Obtain about 30 mL of 0.20 M NaOH solution in a clean, dry 50 mL beaker. Record the exact concentration of NaOH.
5
Condition the 25.0 mL buret with NaOH solution as shown in the Cleaning and Conditioning a Buret video and as described in the Volumetric Glassware section of the Introductory Material in this lab manual.
6
Fill the buret with NaOH and carefully clamp it with the buret clamp to the ring stand.
7
Carefully slide the stir bar into the 250 mL beaker while tilted to avoid splashing or damage to the beaker. Position the stir plate under the 250 mL beaker and begin stirring slowly.
8
Carefully position the pH electrode in the 250 mL breaker until about 1/2 inch of the tip is in the solution. Clamp to the ring stand with the clamp provided. Be sure that the stir bar will not strike the pH electrode. If necessary, add more water from a graduated cylinder. See Figure 3 for the complete setup.
Figure 3: Experimental Setup
9
Position the buret so that the tip of the buret is just inside the beaker. Refer to Figure 3.
10
Take an initial pH reading by entering the initial buret reading in the MicroLab software window and hitting return. You should also record all of your data just in case something goes wrong with the computer. Remember to read the buret to the nearest 0.01 mL. Reading a buret to this accuracy is tricky; the last significant figure is expected to be an estimate.
11
Add the titrant in 2 mL increments from the buret, stir about 15 seconds. Then read the exact volume on the buret, enter this value into the MicroLab software and take a pH reading. Remember to record your measurements. Please be sure to record the pH at 10.00, 15.00, 20.00 and 22.00 mL titrant.
12
When the pH begins to change more rapidly (or when you are within 2 mL of the predicted equivalence point), the increments of titrant should be changed to 0.5 mL. Note the pH range over which the indicator changes color.
13
Return to 2 mL increments of titrant as the changes in pH decrease beyond the equivalence point. Do not stop the titration until you have added approximately 5 mL of titrant beyond the equivalence point.
14
When you are finished with your titration, stop the MicroLab data collection program. Carefully remove the pH electrode from the solution, rinse it off and place it in the pH 7 buffer until you are ready to use it in Part C.
15
Drain the remaining titrant into the analyte beaker. Rinse all remaining solutions down the drain with plenty of water.
16
Rinse and dry all of the glassware for use in Part C. Simply rinse the buret and pipet a few times with deionized water. It is not necessary to dry them since you will be conditioning them before use in Part C.
17
Use the MicroLab software to generate a graph. Ensure this plot has a title, axis labels and units where appropriate. Show this plot to your TA for manual grading of your work.
18
Copy the pH values from your prelab assignment and pH values from your KHP titration curve into your inlab assignment.
Part C: Titration of Na2CO3 with HCl
1
Rinse the 20.00 mL volumetric pipet from Part B with deionized water a few times to remove any remaining KHP solution.
2
Using a clean, dry 50 mL beaker, obtain about 25 mL of 0.10 M sodium carbonate (Na2CO3) solution. Record the exact concentration of the Na2CO3.
3
Condition the 20.00 mL volumetric pipet with Na2CO3 solution as shown in the Pipeting Techniques video under Instructional Videos and as described in the Volumetric Glassware section of the Introductory Material in this lab manual.
4
Pipet 20.00 mL of the sodium carbonate (Na2CO3) solution into a 250 mL beaker, and add 100 mL of deionized water (graduated cylinder) and 3 drops of methyl orange indicator.
5
Obtain about 30 mL of 0.20 M HCl solution in a clean, dry 50 mL beaker. Record the exact concentration of HCl.
6
Condition the 25.0 mL buret with HCl solution as shown in the Cleaning and Conditioning a Buret video and as described in the Volumetric Glassware section of the Introductory Material in this lab manual.
7
Fill the buret with HCl and carefully clamp it with the buret clamp to the ring stand.
8
Carefully slide the stir bar into the 250 mL beaker while tilted to avoid splashing or damage to the beaker. Position the stir plate under the 250 mL beaker and begin stirring slowly.
9
Carefully position the pH electrode in the 250 mL beaker until about 1/2 inch of the tip is in the solution. Clamp to the ring stand with the clamp provided. Be sure that the stir bar will not strike the pH electrode. If necessary, add more water from a graduated cylinder. See Figure 3 for the complete setup.
10
Position the buret so that the tip of the buret is just inside the beaker. Refer to Figure 3.
11
Take an initial pH reading by entering the initial buret reading in the MicroLab software window and hitting return. You should also record all of your data just in case something goes wrong with the computer.
12
Add the titrant in 2 mL increments from the buret, stir about 15 seconds. Then read the exact volume on the buret, enter this value into the MicroLab software and take a pH reading. Remember to record your measurements. Please be sure to record the pH at 5.00, 10.00, 15.00, 20.00 and 22.00 mL of titrant.
13
When the pH begins to change more rapidly (or when you are within 2 mL of the predicted first equivalence point), the increments of titrant should be changed to 0.5 mL.
14
Return to 2 mL increments of titrant as the changes in pH decrease beyond the first equivalence point.
15
When the pH begins to change more rapidly (or when you are within 2 mL of the predicted second equivalence point), the increments of titrant should be changed to 0.5 mL. Note the pH range over which the indicator changes color in the observations column.
16
Return to 2 mL increments of titrant as the changes in pH decrease beyond the second equivalence point. Do not stop the titration until you have added approximately 5 mL of titrant beyond the second equivalence point.
17
When you are finished with your titration, stop the MicroLab data collection program. Carefully remove the pH electrode from the solution, rinse it off and place it in the pH 7 buffer as you found it at the beginning of the lab period.
18
Drain the remaining titrant into the analyte beaker. Rinse all remaining solutions down the drain with plenty of water.
19
Rinse and dry all of the glassware and return it to the setup area. Simply rinse the buret and pipet a few times with deionized water. It is not necessary to manually dry them. Simply clamp them upside down in the buret clamp with the stopcock of the buret open so they will dry on their own. Please refer to the Cleaning a Buret video under Instructional Videos for more details.
20
Use the MicroLab software to generate a graph. Ensure this plot has a title, axis labels, and units where appropriate. Show this plot to your TA for manual grading of your work.
21
When you are finished, close MicroLab.
22
Complete the Data Collection section of the lab manual with pH values from your prelab assignment and pH values from your Na2CO3 titration curve.
23
Before leaving, enter your results in the in-lab assignment. If all results are scored as correct, log out. If not all results are correct, try to find the error or consult with your lab instructor. When all results are correct, note them and log out of WebAssign. The in-lab assignment must be completed by the end of the lab period. If additional time is required, please consult with your lab instructor.

